|
Притисак/МПа |
Температура / °Ц |
Брзина /м/с |
Средње |
|
≤40 |
-35~+100 (са одговарајућим НБР О-прстеновима) |
≤2 |
Хидраулично уље, емулзија, вода, гас итд. |
-20~+200 (са одговарајућим О-прстеновима ФКМ) |
1. Одговарајући материјали за О-прстенове укључују: Р01 нитрил бутадиен каучук (НБР), Р02 флуорокаучук (ФКМ) итд.
2. Материјали заптивног прстена: Стандардни материјали ПТФЕ3 и ПТФЕ4; други опциони материјали укључују ПТФЕ1, ПТФЕ2 и ПТФЕ5.
Руицхен је спровео независно истраживање и развој и производњу од почетка сировина, реализујући контролу целог ланца производа.
1. Инжењерске пластике и композитни материјали: Политетрафлуороетилен (ПТФЕ) узимамо као језгро, од мешања, синтеровања до обликовања, независне производње свих врста пуњених модификованих композитних материјала цеви и шипке, а затим прецизне обраде у заптивке. Ово осигурава стабилност и прилагодљивост својстава материјала.
2. Полиуретански еластомер високих перформанси: Почињемо од ливења предполимера, независно производимо висококвалитетне полиуретанске материјале за цеви и шипке и прерађујемо их у различите врсте заптивки, које су изванредне у отпорности на хабање, отпорност на притисак и отпорност на хидролизу.
Пример наручивања
Модел наручивања РЦ2054—80×69×4.2—ПТФЕ3—Р01 Модел-Д*д*Л- Шифра материјала Наручивање модела РЦКС18—80×69к4.2—ХПУ Модел-Д*д*Л- Шифра материјала
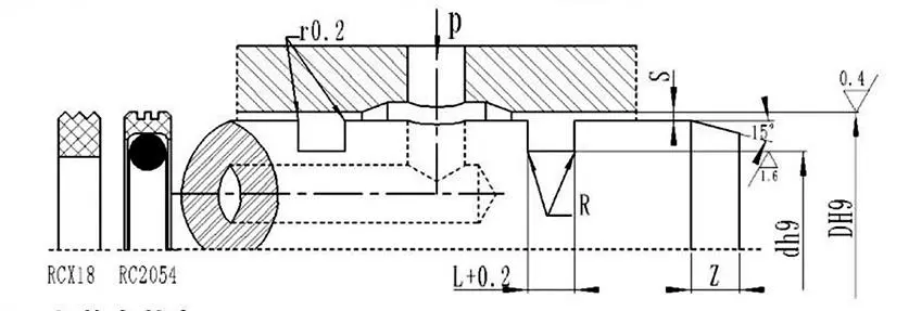
Табела са спецификацијама и параметрима (доступна је свака спецификација унутар опсега параметара)
|
Опсег отвора бленде ДХ9 |
Пречник рова дх9 |
Ширина рова Л+0,2 |
Радијални зазор Смак |
Заобљени углови Рмак |
Цхамфер Змин |
|
|
0~10Мпа |
10~20Мпа |
|||||
|
8~39 |
Д-4.9 |
2.2 |
0.15 |
0.1 |
0.4 |
2 |
|
40~79 |
Д-7.5 |
3.2 |
0.2 |
0.15 |
0.6 |
3 |
|
80~132 |
Д-11.0 |
4.2 |
0.25 |
0.2 |
1.0 |
4 |
|
133~329 |
Д-15.5 |
6.3 |
0.3 |
0.25 |
1.3 |
5 |
|
330~669 |
Д-21.0 |
8.1 |
0.3 |
0.25 |
1.8 |
7 |
|
670~1500 |
Д-28.0 |
9.5 |
0.45 |
0.3 |
2.0 |
8 |
|
D |
d |
L |
D |
d |
L |
D |
d |
L |
D |
d |
L |
|
8 |
3.1 |
2.2 |
50 |
42.5 |
3.2 |
170 |
154.5 |
6.3 |
380 |
359.0 |
8.1 |
|
10 |
5.1 |
2.2 |
55 |
47.5 |
3.2 |
180 |
164.5 |
6.3 |
390 |
369.0 |
8.1 |
|
12 |
7.1 |
2.2 |
60 |
52.5 |
3.2 |
190 |
174.5 |
6.3 |
400 |
379.0 |
8.1 |
|
14 |
9.1 |
2.2 |
63 |
55.5 |
3.2 |
200 |
184.5 |
6.3 |
420 |
399.0 |
8.1 |
|
15 |
10.1 |
2.2 |
65 |
57.5 |
3.2 |
210 |
194.5 |
6.3 |
450 |
429.0 |
8.1 |
|
16 |
11.1 |
2.2 |
70 |
62.5 |
3.2 |
220 |
204.5 |
6.3 |
480 |
459.0 |
8.1 |
|
18 |
13.1 |
2.2 |
75 |
67.5 |
3.2 |
230 |
214.5 |
6.3 |
500 |
479.0 |
8.1 |
|
20 |
15.1 |
2.2 |
80 |
69.0 |
4.2 |
240 |
224.5 |
6.3 |
520 |
499.0 |
8.1 |
|
22 |
17.1 |
2.2 |
85 |
74.0 |
4.2 |
250 |
234.5 |
6.3 |
550 |
529.0 |
8.1 |
|
24 |
19.1 |
2.2 |
90 |
79.0 |
4.2 |
260 |
244.5 |
6.3 |
600 |
579.0 |
8.1 |
|
25 |
20.1 |
2.2 |
95 |
84.0 |
4.2 |
270 |
254.5 |
6.3 |
630 |
609.0 |
8.1 |
|
28 |
23.1 |
2.2 |
100 |
89.0 |
4.2 |
280 |
264.5 |
6.3 |
650 |
629.0 |
8.1 |
|
30 |
25.1 |
2.2 |
105 |
94.0 |
4.2 |
290 |
274.5 |
6.3 |
670 |
642.0 |
9.5 |
|
32 |
27.1 |
2.2 |
110 |
99.0 |
4.2 |
300 |
284.5 |
6.3 |
700 |
672.0 |
9.5 |
|
35 |
30.1 |
2.2 |
115 |
104.0 |
4.2 |
310 |
294.5 |
6.3 |
750 |
722.0 |
9.5 |
|
36 |
31.1 |
2.2 |
120 |
109.0 |
4.2 |
320 |
304.5 |
6.3 |
800 |
772.0 |
9.5 |
|
38 |
33.1 |
2.2 |
125 |
114.0 |
4.2 |
330 |
309.0 |
8.1 |
1000 |
972.0 |
9.5 |
|
40 |
32.5 |
3.2 |
130 |
119.0 |
4.2 |
340 |
319.0 |
8.1 |
|
|
|
|
42 |
34.5 |
3.2 |
140 |
124.5 |
6.3 |
350 |
329.0 |
8.1 |
|
|
|
|
45 |
37.5 |
3.2 |
150 |
134.5 |
6.3 |
360 |
339.0 |
8.1 |
|
|
|
|
48 |
40.5 |
3.2 |
160 |
144.5 |
6.3 |
370 |
349.0 |
8.1 |
|
|
|
Напомена: Захтеване спецификације нису овде наведене; молимо контактирајте нашу компанију. Нудимо производе са максималним пречником од 2800мм.



Адреса
Но.1 Руицхен Роад, индустријски парк Донглиутинг, округ Цхенгианг, град Кингдао, провинција Шандонг, Кина
Тел
Е-маил